产品banner
您当前的位置 : 首 页 > 产品中心 > 车表类

产品中心 Product

联系我们Contact Us

昆山歆轩电子有限公司

联系人:汪先生

手   机:13818541390

座   机:0512-36874515

网   址:www.ksxxdz.com

地   址:江苏省昆山市花桥镇花安路169号中寰广场写字楼935室

JWSH-T110A

2022-09-17 09:46:38
JWSH-T110A
详细介绍:

产品规格确认书


Approved   by
客户签名栏
客户签名
Project   Name&Item
产品名称及编号

JWSH-T110A

Working   Voltage
工作电压
2.4V~3.6V

备注说明(请选择)

LCD选择       ■单排

                    ■双排

                     □多排

Picture

产品样片

单片机

Version
版本
V1.0
Remark
备注
1、规格书仅供参考!以实际样品功能为准!
2、以上资料如有更新我司将不另行通知,客户在应用本产品前请确认是否为Z新版本;
3、对于客户的不正确应用所带来的任何后果,我司不承担任何责任!
4、本公司可以根据客户要求对本产品进行改版或重新设计,详情请具体来电垂询!


一、Features ( 产品特性 )

★单双排窗口表头产品;

★二个按键: [MODE].[RESET]

★Bonding选择两种LCD: 单排﹐双排

★Bonding组合搭配选择不同数据.;

★适用:踏步机、健身车、划船器等多种健身仪表。


二、I/O Mapping ( 脚位映射 )

信号按键Bonding选择脚位定义

名 称

脚位 (I/O)

说 明 (Function)

MODE

INB0 ---- VDD

模式键

RESET

INB2 ---- VDD

复位键

S2

IOA1---- VDD

 

S5S4S3S2

Bonding Option

选择數据类型

 

0000

508F (5080)

0001

508A (1C53)

S3

IOA2----VDD

0010

次數 (CS)

0011

1:1  (1:1)

0100

1:3 (1:3)

S4

IOA3 ----VDD

0101

1:7 (19)

0110

1370 (70)

0111

17k (17)

S5

IOA4-----VDD

1000

508B(3C53)



S1

IOA0 ----VDD

Bonding Option

单双排

1

       双排LCD

0

       单排LCD


三、Operation Function ( 功能说明 )

1.       开机

上电池后,LCD全显,持续时间1.5S,心率符号及其它无用图标,只有全显时会出现,以后不会出现。

全显结束后进入正常状态。

2.       扫描SCAN

开机结束便是扫描,显示符号“SCAN”并闪烁(闪烁速率0.5S)。每6S循环显示时间TIME、速度SPD等。TIME、SPD这些符号是不闪烁的。

按模式键退出扫描,符号“SCAN”消失。

单排:

508F:CUNTàTIMEàCALàDISTàSCAN

508A:SCANàTIMEàCNTàT.CàCAL

508B:SCANàTIMEàCNTàCAL

次数:SCANàTIMEàSPD(次/分)àCNTàCAL

速度:SCANàTIMEàSPD(Km/Hour)àDSTàCAL

双排:

508F:SCAN àTIME àDISTàCAL

508A:SCANàTIMEàT.CàCAL

508B:SCANàTIMEàCAL

次数:SCANàTIMEàSPD(次/分)àCAL

速度:SCANàTIMEàDSTàCAL

3. 时间TIME

   测量从开始运动(计数信号)到运动停止的时间,Z大计时99分59秒。

   当计数信号在4S内没输入时,时间停止。

4. 速度SPD

测试瞬时速度。

当计数信号在4S内没输入时,显示0(次数)/0.0(其他)

5. 次数CNT

测量运动次数,单次计步输入COUNT加1,溢出后系统自动归零。

6.路程DST

显示运动路程(注:当数据是508F时,路程不能被清零),单位KM。

7. 总次数TC

测量运动总次数,溢出后系统自动归零(注:数据在不掉电情况下不被清零)。

8. 热量CAL

显示运动消耗的热量,走动相应的步数对应相应的CAL,溢出后系统自动归零。

9. 睡眠

4分钟无信号(计数信号、按键信号)输入,LCD自动关机进入睡眠状态并保存所有数据。

10. 唤醒

当有信号输入(计数信号、按键信号,信号进入为有效信号,即计数信号进入各功能正常计算,按键信号进入启动相应功能动作),LCD自动从睡眠唤醒,数据为睡眠前保存的数据(除按RESET键)。

11. 按键MODE

每短按一次模式键,将切换一种功能;短按MODE按照SCAN模式下顺序切换功能,同时解除SCAN功能。

按住模式键3S,LCD全显(持续时间1.5S),数据清零,回到开机结束后的状态。(注:总次数不能清零,当数据是508F时,路程不能被清零)

12.按键RESET

每操作一次RESET键,系统执行软件复位,LCD全显(持续时间1.5S),。

(清零除总次数外所有数据,注:当数据是508F时,路程不能被清零)。

13. 数据类型:次数I 、508ABF

当选择此数据类型时,计数信号要被限制!

限制要求:0.5秒1个计数信号,

即当1个计数信号采集后的0.5秒内,有其他计数信号进入时均不计。

14.每秒钟给入的信号不能超过15个,过多会导致计数不正确,其余功能也会不正确。

注:具体功能以实际样品为准。

 数据类型(不选择时,默认数据为508F)

 

数据类型

初显内容

路程换算公式

热量换算公式

Bonding Option

508F


28进0.1

8,7,7,7,7进1

0000

508A


8,7,7,7,7进1

0001

次数I


8,7,7,7,7进1

0010

1:1


2,2,1进0.01

1进0.1,0.1,0.1,0.1,0.2

0011

1:3


7,7,7,7,6进0.01

3,3,3,3,3,2进0.1

0100

1:7


13,13,12进0.01

10进0.1

0101

1370


3,2,2进0.01

2进0.1

0110

17K


4,4,4,5进0.01

3,3,3,3,3,2进0.1

0111

508B


8,7,7,7,7进1

1000



各数据类型具备的功能

数据类型

扫描

时间

速度

次数

路程

热量

总次数

508F

 

 

 

都有

都有

 

0:00~99:59(分:秒)

 

0~9999次

0.0~999.9km

0~9999

508A

次数

0~9999次/分

0~9999

 

 

1:1

 

0.0~999.9km/H

 

 

 

 

0.00~99.99km

 

 

0.0~999.9

1:3

1:7

1370

17K

508B

0~9999次

0~9999


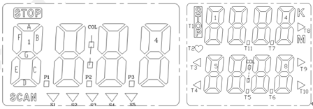
四、  LCD Photo (LCD显示) 1/8Duty、1/4bias、3.0V

4.png


注:使用功能图标为:S1:TIME,S2:CNT,S3:DIST,S4:CAL,S5: SPD

5.png


注:使用功能图标为:T4:SCAN T3:DST/REPS/Min  T10:CAL T9:TIME  T8:COUNT/SPD


五、Application Circuit ( 应用线路图 )

7.png

注﹕晶振宜选用高精度,位置需尽量靠近IC.


六. Electrical Specification(电气特性)

8.png


七. PAD Assignment ( 绑定脚位图 )

9.png

上一篇:JWSH-T119A2022-09-17
下一篇:JWSH-T097A2022-09-17

相关产品

相关新闻

联系我们

联系人:汪先生

手   机:13818541390

座   机:0512-36874515

网   址:www.ksxxdz.com

地   址:江苏省昆山市花桥镇花安路169号中寰广场写字楼935室

Copyright © 昆山歆轩电子有限公司 版权所有 苏ICP备18028124号 - 歆轩,心率,霍尔,蓝牙芯片,单片机,表头芯片,电子产品开发,无线心率,蓝牙产品,SH601